View product details
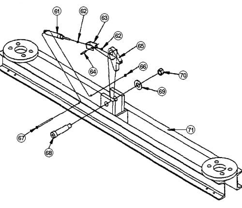
Parts for Challenger CS9200 Bearings
In Ground Side by Side Lifts - Challenger - CS9200

View product details
In Ground Side by Side Lifts - Challenger - CS9200
View product details
In Ground Side by Side Lifts - Challenger - CS9200
View product details
In Ground Side by Side Lifts - Challenger - CS9200
View product details
In Ground Side by Side Lifts - Challenger - CS9200
View product details
In Ground Side by Side Lifts - Challenger - CS9200