View product details
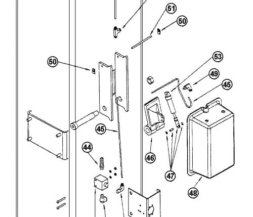
Parts for Challenger 37000 Air Lock Release System
Above Ground 2-Post Lifts - Challenger - 37000

View product details
Above Ground 2-Post Lifts - Challenger - 37000
View product details
Above Ground 2-Post Lifts - Challenger - 37000
View product details
Above Ground 2-Post Lifts - Challenger - 37000
View product details
Above Ground 2-Post Lifts - Challenger - 37000
View product details
Above Ground 2-Post Lifts - Challenger - 37000
View product details
Above Ground 2-Post Lifts - Challenger - 37000
View product details
Above Ground 2-Post Lifts - Challenger - 37000
View product details
Above Ground 2-Post Lifts - Challenger - 37000
View product details
Above Ground 2-Post Lifts - Challenger - 39000