View product details
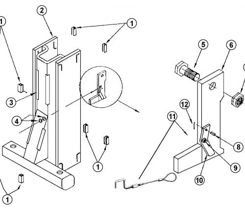
Parts for Challenger 30000 Asymmetrical Arms
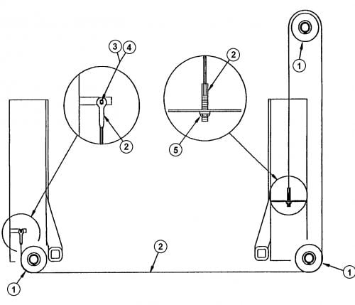
Above Ground 2-Post Lifts - Challenger - 30000

View product details
Above Ground 2-Post Lifts - Challenger - 30000
View product details
Above Ground 2-Post Lifts - Challenger - 30000
View product details
Above Ground 2-Post Lifts - Challenger - 30000
View product details
Above Ground 2-Post Lifts - Challenger - 30000
View product details
Above Ground 2-Post Lifts - Challenger - 30000
View product details
Above Ground 2-Post Lifts - Challenger - 30000
View product details
Above Ground 2-Post Lifts - Challenger - 30000
View product details
Above Ground 2-Post Lifts - Challenger - 31000
View product details
Above Ground 2-Post Lifts - Challenger - 31000