Skip to main content

Parts for Mohawk System 1A Carriage Parts

Above Ground / Surface Mount 2-Post Lifts – Mohawk – SYSTEM IA

SVI is the #1 Source for repair parts for Mohawk Lifts. Whether you need cables, sheaves, slider blocks, power units, height extensions and pads, or another part for your 2-post Mohawk lift, SVI has what you need. We offer excellent pricing and in-stock items usually ship out same day.

Looking for a specific model breakdown or part? Contact SVI today!

Also see these additional breakdowns for Mohawk Lift System 1A:

Add to
Quote
Add to
Order
Item
SVI Part #
OEM #
Description
 
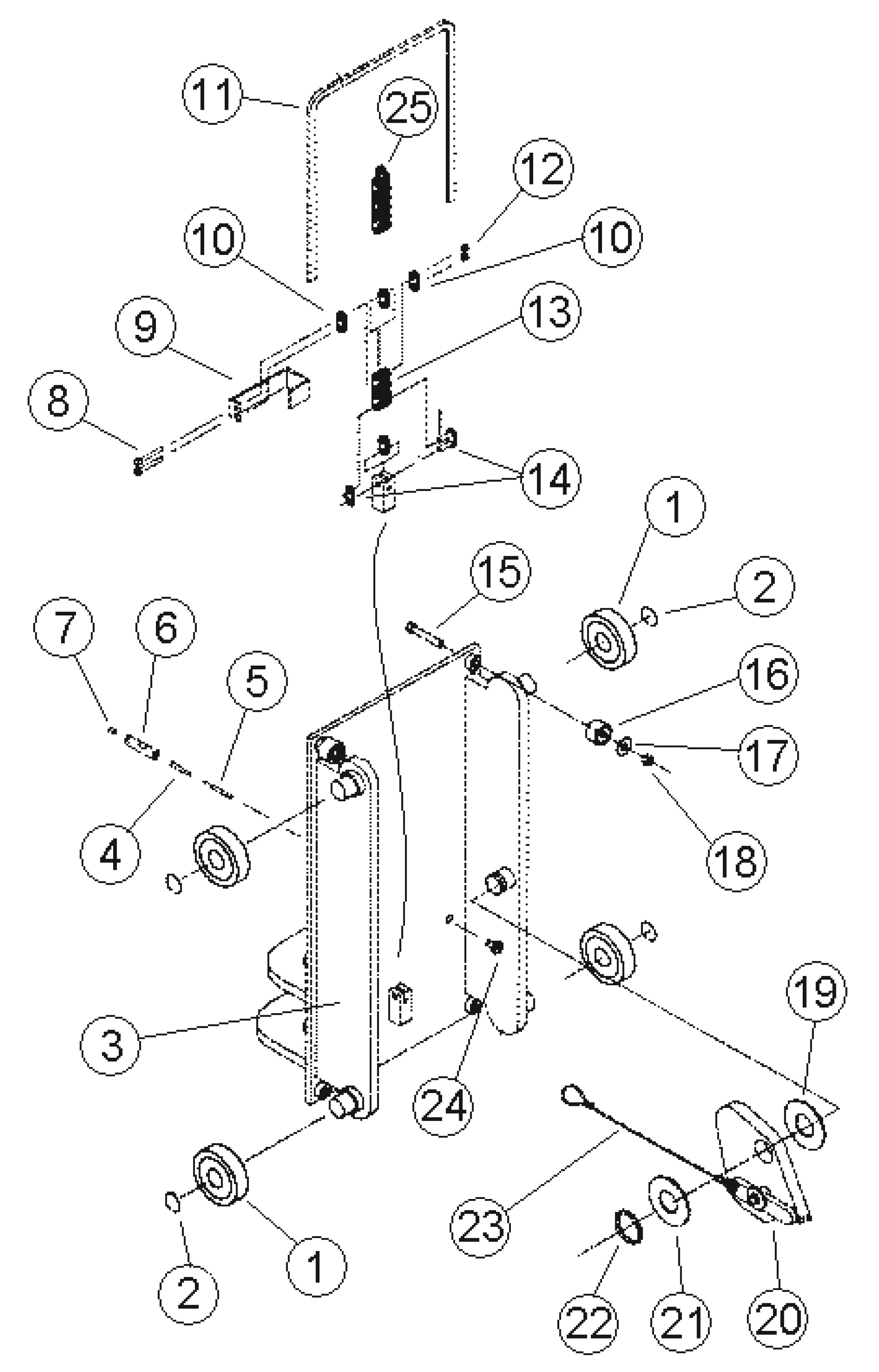
1
600-860-012
Carriage Roller Assembly

2
F-RRE-1375
600-870-001
1-3/8” Snap Ring

3
009-010-069
Carriage Structure

4
600-840-019
Spring

5
009-010-124
Plunger

6
009-010-128
Plunger Housing

7
F-SS-0375-16-0500
600-630-001
3/8”-16 x 1/2 Screw

8
600-640-050
5/16-18 x 2-1/2” Bolt

9
009-010-127
Chain Guide

10
BH-7029-01L
600-830-027
BH-7029 Chain Link

11
009-001-418
Trim

12
600-690-001
5/16”-18 Lock Nut

13
009-010-437
Leaf Chain order 3 Pitches

14
600-830-026
Master Link

15
600-640-006
7/16”-14 x 2-1/2” Bolt

16
600-860-002
Cam Roller 1-1/2”

17
F-FW-0437-USS
600-710-005
7/16” Flatwasher

18
600-690-006
7/16-14 Lock Nut

19
F-FW-1375-SAE
600-710-014
1-3/8” Flatwasher

20
009-010-068
Carriage Lock Assembly

21
007-007-178
Washer

22
BH-7341-35
600-870-001
1-3/8” Snap Ring

23
009-001-066
Lock Release Cable

24
009-010-125
Cap

25
600-830-001
Leaf Chain order 77 Pitches

All names, numbers, symbols and descriptions are used for reference purposes only. It is not implied that any part listed is the product of these manufacturers. SVI does not represent and is not associated in any way with any other companies.
Related documents

All names, numbers, symbols and descriptions are used for reference purposes only. It is not implied that any part or product listed is the actual product of these manufacturers. SVI does not represent and is not associated in any way with any other companies.

Have any questions?

We’ll get right back to you — Contact us now.
Contact us

Quick Reference

Easy Access to Products, Resources, and More