Skip to main content

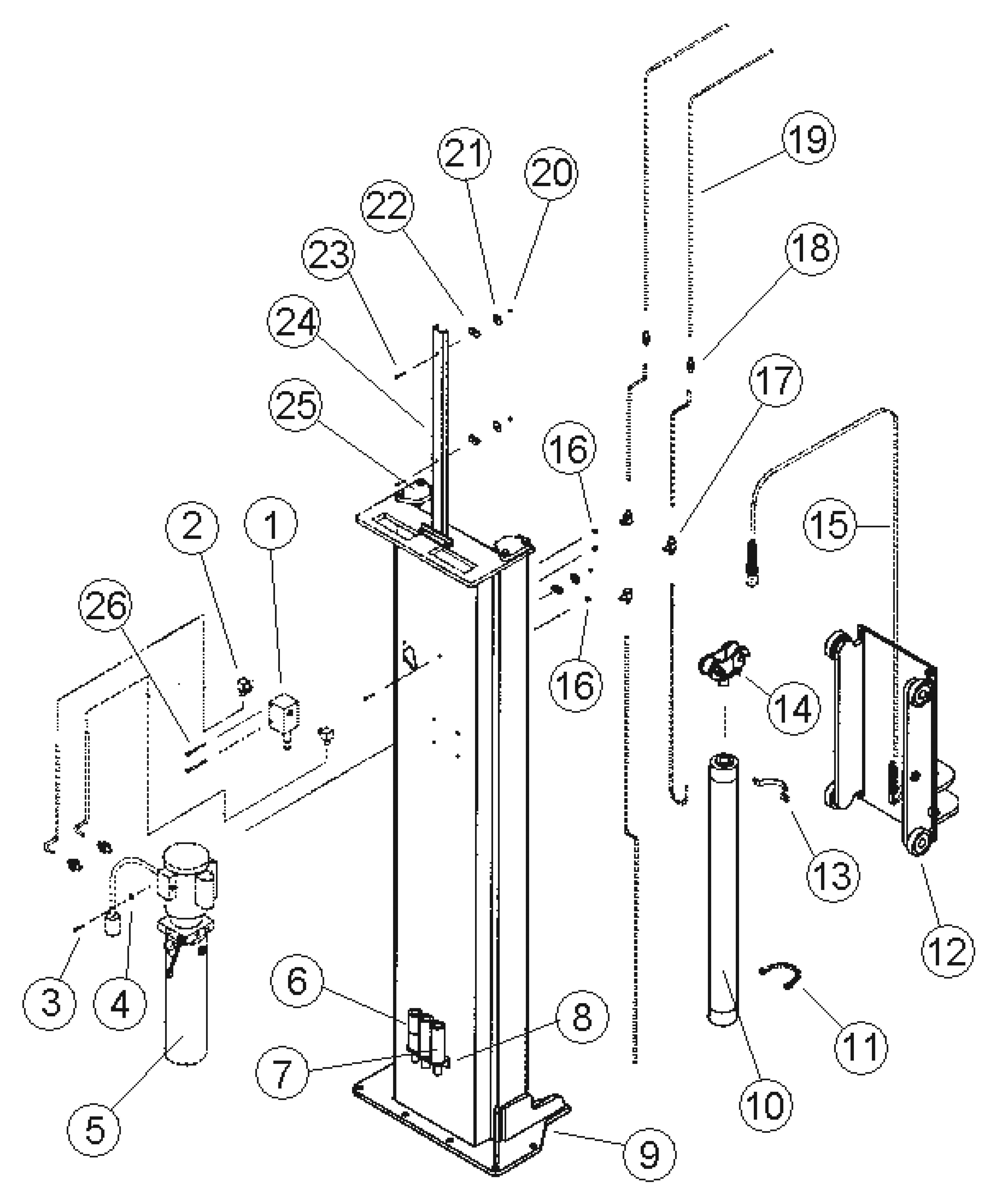
Parts for Mohawk System 1A-10 Power Unit Column Mainside

Above Ground / Surface Mount 2-Post Lifts – Mohawk – SYSTEM IA-10

SVI is the #1 Source for repair parts for Mohawk Lifts. Whether you need cables, sheaves, slider blocks, power units, height extensions and pads, or another part for your 2-post Mohawk lift, SVI has what you need. We offer excellent pricing and in-stock items usually ship out same day.

Looking for a specific model breakdown or part? Contact SVI today!

Also see these additional breakdowns for Mohawk Lift System 1A-10:

Add to
Quote
Add to
Order
Item
SVI Part #
OEM #
Description
 
1
601-410-030
Diverter Valve

2
601-420-011
Straight Fitting #6 JIC to #6 JIC

3
600-640-012
5/16”-18 x 3/4” Bolt

4
600-710-003
5/16” Flatwasher

5
601-300-045
Power Unit

6
025-002-127
3” Nesting Height Extension

6
4” Nesting Height Extension

6
5” Nesting Height Extension

7
025-002-128
6” Nesting Height Extension

8
025-002-126
Height Extension Bracket

9
009-010-005
Power Unit Column Assy

10
007-007-001
Hydraulic Cylinder

11
009-001-122
Cylinder Clamp - Bottom

12
600-860-012
Carriage Roller Assembly

13
009-010-107
Cylinder Clamp - Top

14
009-010-040
Chain Roller / Yoke Assembly

15
600-830-001
Leaf Chain order 77 pitches

16
600-690-001
5/16”-18 Lock Nut

17
601-420-046
Tee O-Ring to #6 JIC to #6 JIC

18
601-420-011
Straight Fitting #6 JIC to #6 JIC

19
009-010-018
59-1/4” Steel Tube Assembly

20
600-690-005
1/4”-20 Lock Nut

21
F-FW-0312-FW
600-710-006
5/16” Fender Washer

22
601-710-001
Double Hyd Line Clip

23
600-640-019
1/4”-20 x 1-1/2” Bolt

24
007-007-033
Hydraulic Line Support

25
009-001-141
Stop Plate

26
600-640-020
5/16”-18 x 3-1/2” Bolt

All names, numbers, symbols and descriptions are used for reference purposes only. It is not implied that any part listed is the product of these manufacturers. SVI does not represent and is not associated in any way with any other companies.
Related documents

All names, numbers, symbols and descriptions are used for reference purposes only. It is not implied that any part or product listed is the actual product of these manufacturers. SVI does not represent and is not associated in any way with any other companies.

Have any questions?

We’ll get right back to you — Contact us now.
Contact us

Quick Reference

Easy Access to Products, Resources, and More