Above Ground / Surface Mount 2-Post Lifts – Hydra-Lift – 29
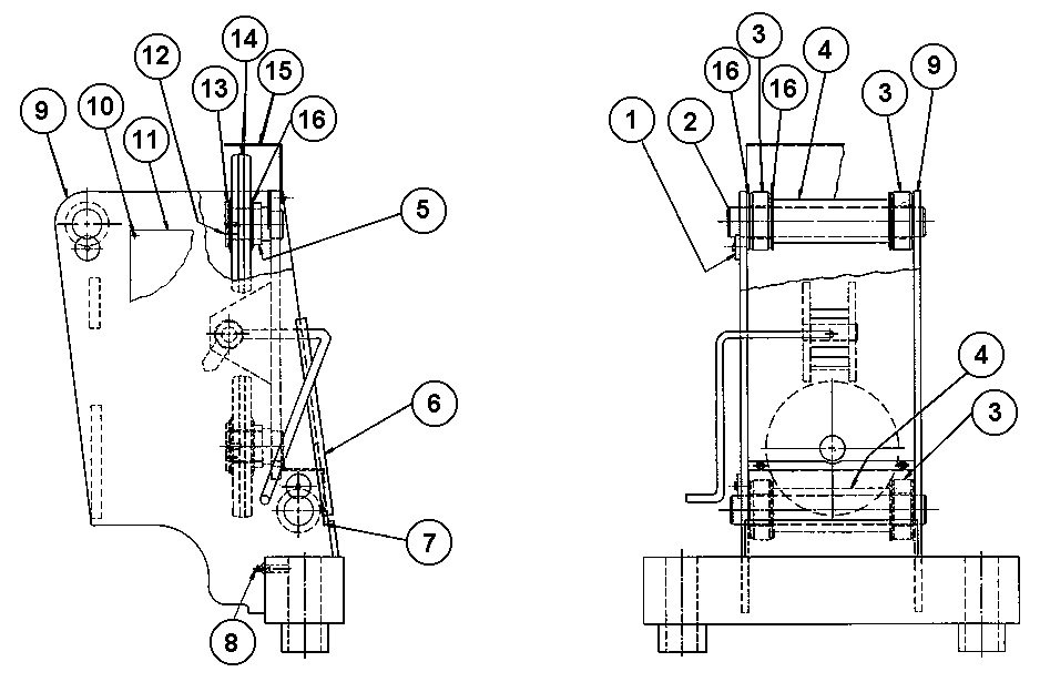
Parts for Hydra-Lift 29 Carriage Assembly Power Side
Add toQuote
Add toOrder
Item
SVI Part #
OEM #
QTY
Description
* Custom order by request. Sample may be needed.
All names, numbers, symbols and descriptions are used for reference purposes only. It is not implied that any part listed is the product of these manufacturers. SVI does not represent and is not associated in any way with any other companies.
