Above Ground / Surface Mount 2-Post Lifts – Direct Lift – Pro9D
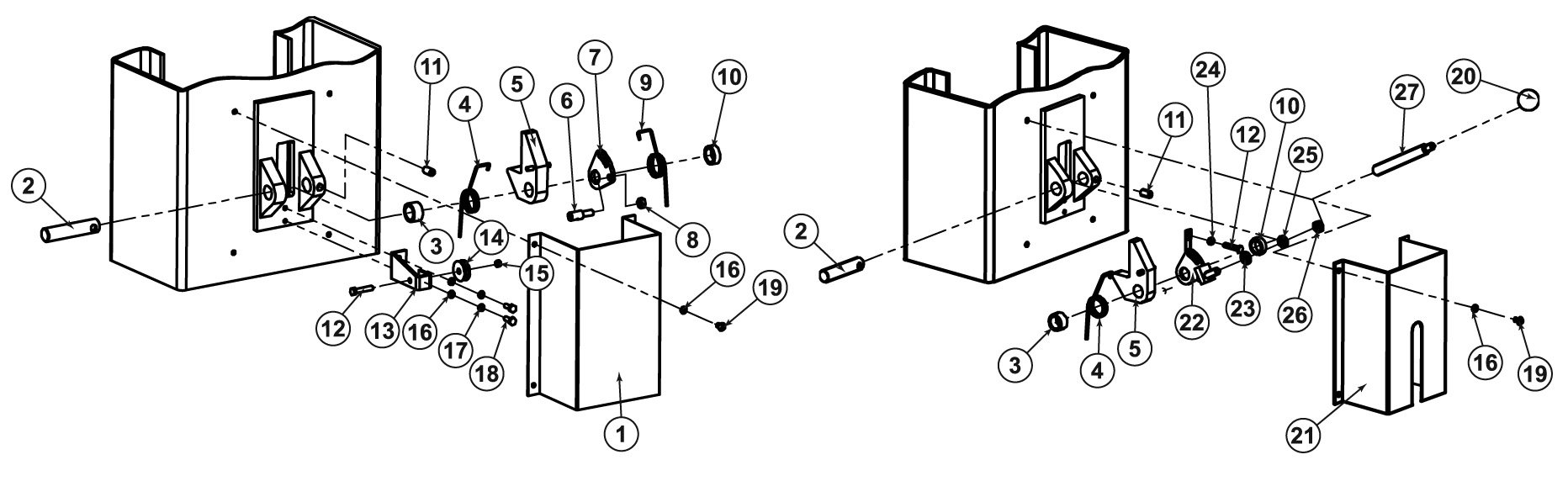
Parts for Direct Lift Pro9D Lock Detail
Add toQuote
Add toOrder
Item
SVI Part #
OEM #
QTY
Description
8
Request Details
30500-5001(B)-27
1
M8 Nut
11
Request Details
B22-10x16
2
M10x16 Hex Head Screw
12
Request Details
B10-6x35
2
M6x35
15
Request Details
B33-6
3
M6 Nylon Lock Nut
16
Request Details
B41-6
26
Ø6 Flat Washer
17
Request Details
B40-6
14
Ø6 Lock Washer
18
Request Details
B10-6x16
14
M6x16 Hex Bolt
19
Request Details
B23-6x8
16
M6x8 Screw
20
Request Details
B84-10
5
Knob
23
Request Details
B41-10
5
Ø10 Flat Washer
24
Request Details
B30-6
5
M6 Nut
25
Request Details
B40-10
5
Ø10 Lock Washer
26
Request Details
B36-10
1
Nut M10
All names, numbers, symbols and descriptions are used for reference purposes only. It is not implied that any part listed is the product of these manufacturers. SVI does not represent and is not associated in any way with any other companies.
