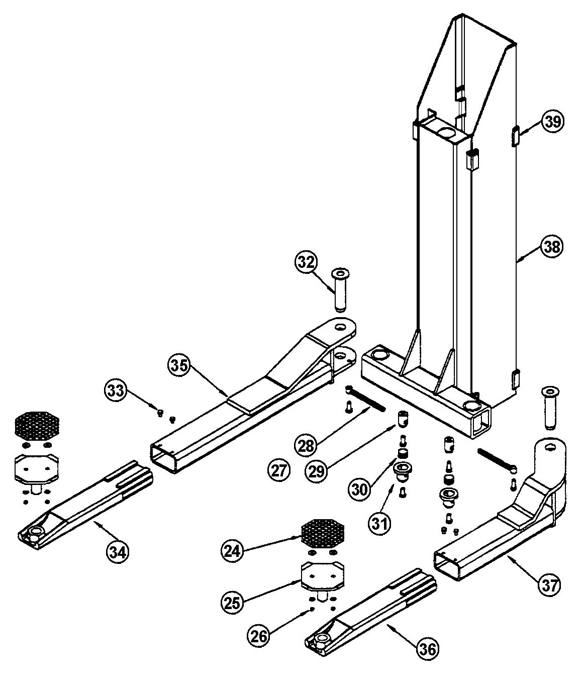
Above Ground / Surface Mount 2-Post Lifts – Challenger – 36000
Parts for Challenger 36000 Carriage Arm Assembly
Add toQuote
Add toOrder
Item
SVI Part #
OEM #
QTY
Description
All names, numbers, symbols and descriptions are used for reference purposes only. It is not implied that any part listed is the product of these manufacturers. SVI does not represent and is not associated in any way with any other companies.
