Above Ground / Surface Mount 2-Post Lifts – Challenger – 35000
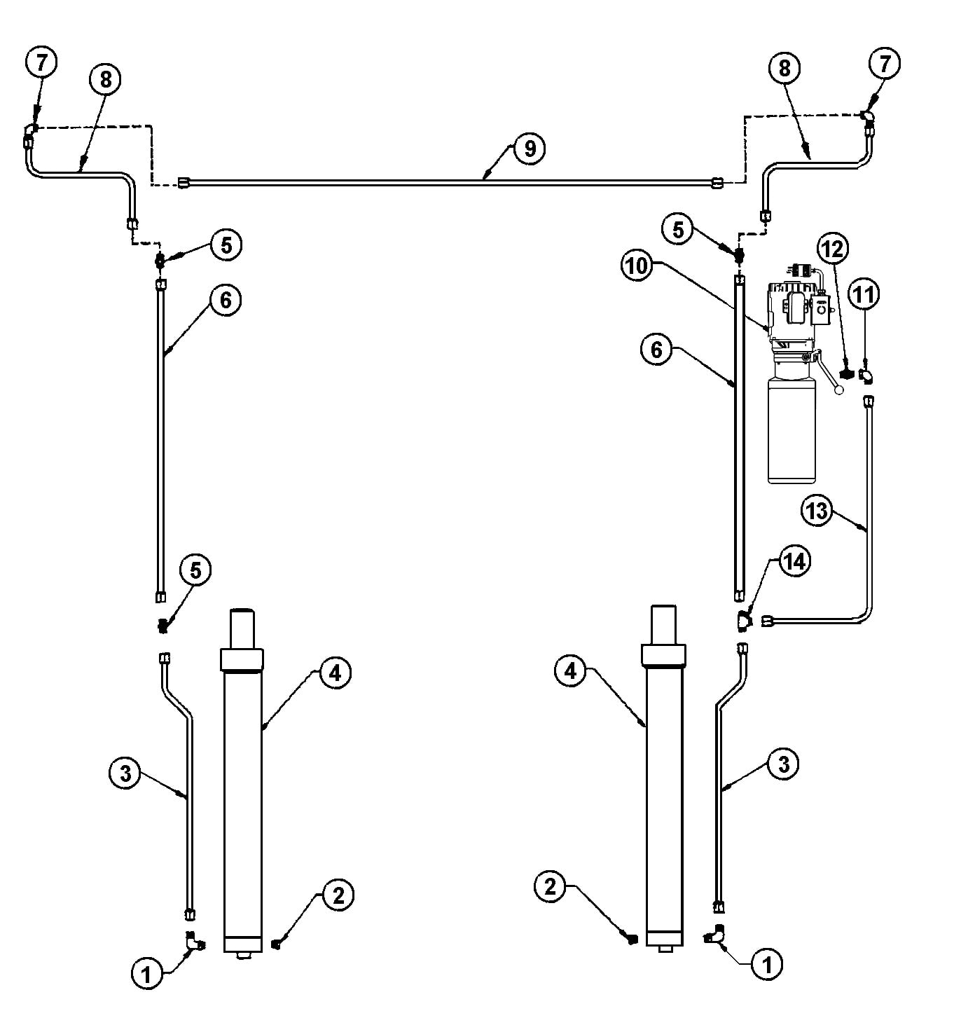
Parts for Challenger 35000 Overhead Hydraulic Assembly
Add toQuote
Add toOrder
Item
SVI Part #
OEM #
QTY
Description
All names, numbers, symbols and descriptions are used for reference purposes only. It is not implied that any part listed is the product of these manufacturers. SVI does not represent and is not associated in any way with any other companies.
