Above Ground / Surface Mount 2-Post Lifts – Challenger – 33000
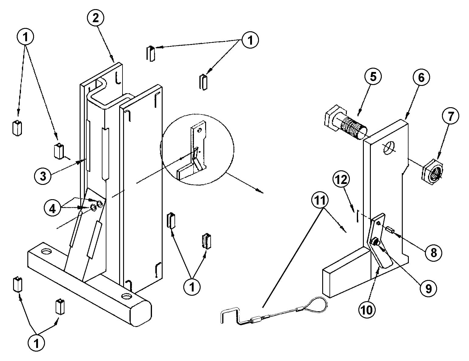
Parts for Challenger 33000 Lock Latch and Slider Block
Add toQuote
Add toOrder
Item
SVI Part #
OEM #
QTY
Description
5
F-HC-0750-16-3000
200151
2
Mounting Bolt
All names, numbers, symbols and descriptions are used for reference purposes only. It is not implied that any part listed is the product of these manufacturers. SVI does not represent and is not associated in any way with any other companies.
