Above Ground / Surface Mount 2-Post Lifts – Benwil – GPOA-8
Parts for Benwil GPOA-8 Left Hand Column
Add toQuote
Add toOrder
Item
SVI Part #
OEM #
QTY
Description
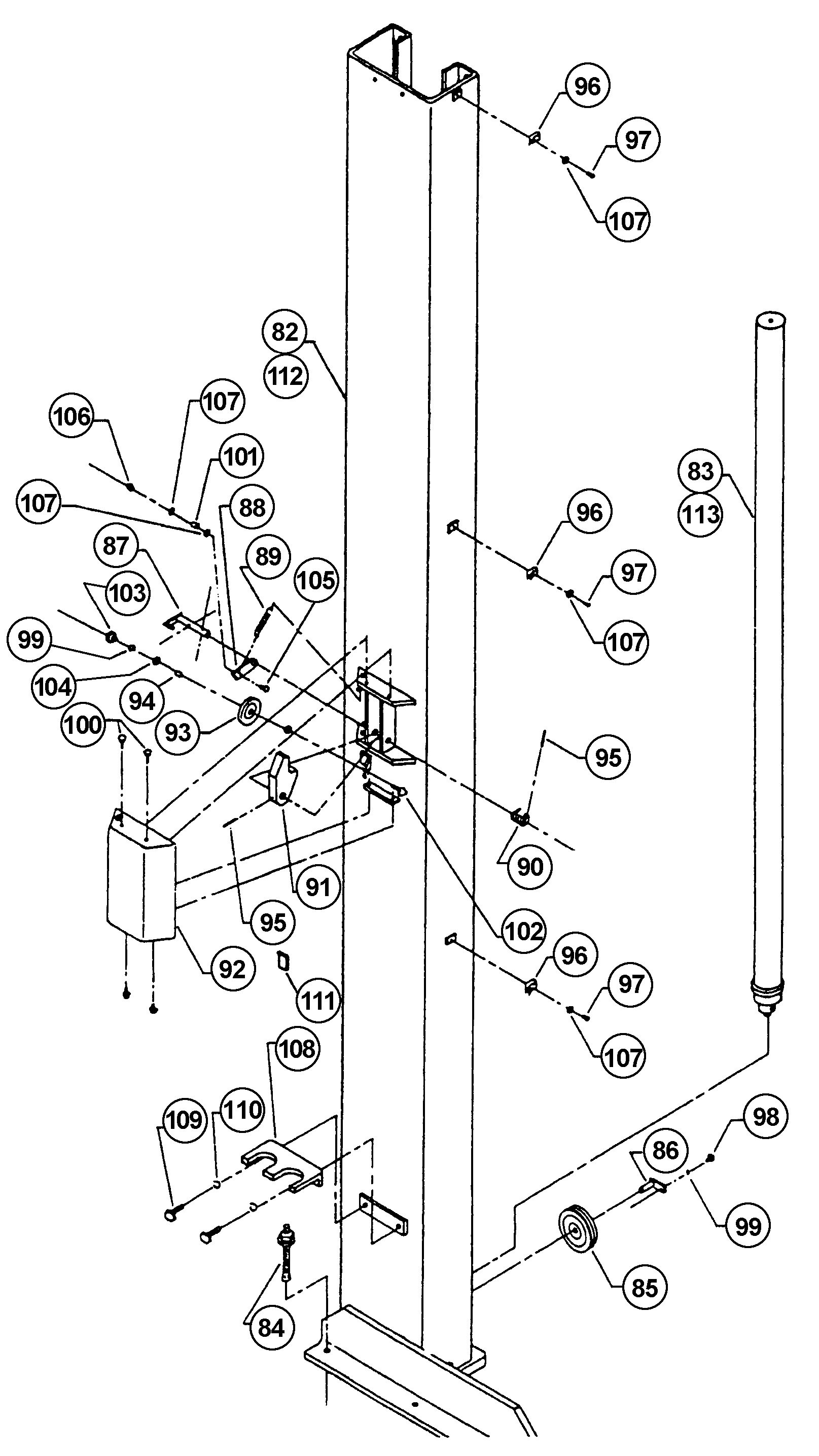
82
Request Details
300776
Ref.
LH Column
84
BH-7224-131
500388
Ref.
Anchor Bolt Assy.
107
F-FW-0187
5
3/16" Flat Washer (USS or SAE)
111
BH-7224-217
301013
1
Poly. Strip
112
Request Details
300776-1
--
LH Column
* Optional
All names, numbers, symbols and descriptions are used for reference purposes only. It is not implied that any part listed is the product of these manufacturers. SVI does not represent and is not associated in any way with any other companies.
