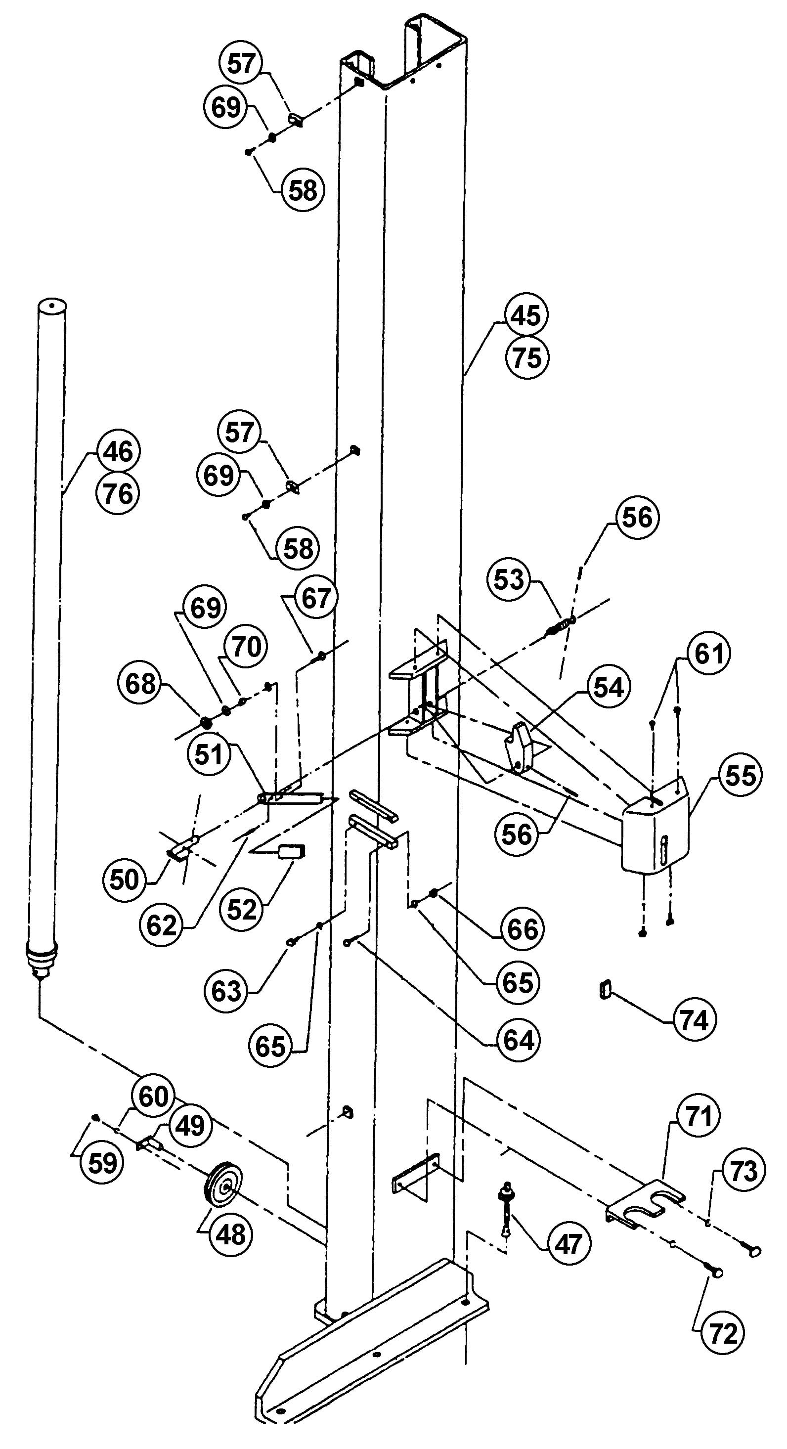
Above Ground / Surface Mount 2-Post Lifts – Benwil – GPOA-10H
Parts for Benwil GPOA-10H Right Hand Column
Add toQuote
Add toOrder
Item
SVI Part #
OEM #
QTY
Description
45
Request Details
300924
Ref.
RH Column
47
BH-7224-131
500388
Ref.
Anchor Bolt Assy.
52
BH-7224-215
300944
1
Cover Handle
62
F-RP-0187
1
3/16" x 1/2" Roll Pin
65
F-LW_0312
4
5/16" Split Lock Washer
69
F-FW-0187
5
3/16" Flat Washer (USS or SAE)
74
BH-7224-217
301013
1
Strip-Polyurethane
* Optional
All names, numbers, symbols and descriptions are used for reference purposes only. It is not implied that any part listed is the product of these manufacturers. SVI does not represent and is not associated in any way with any other companies.
