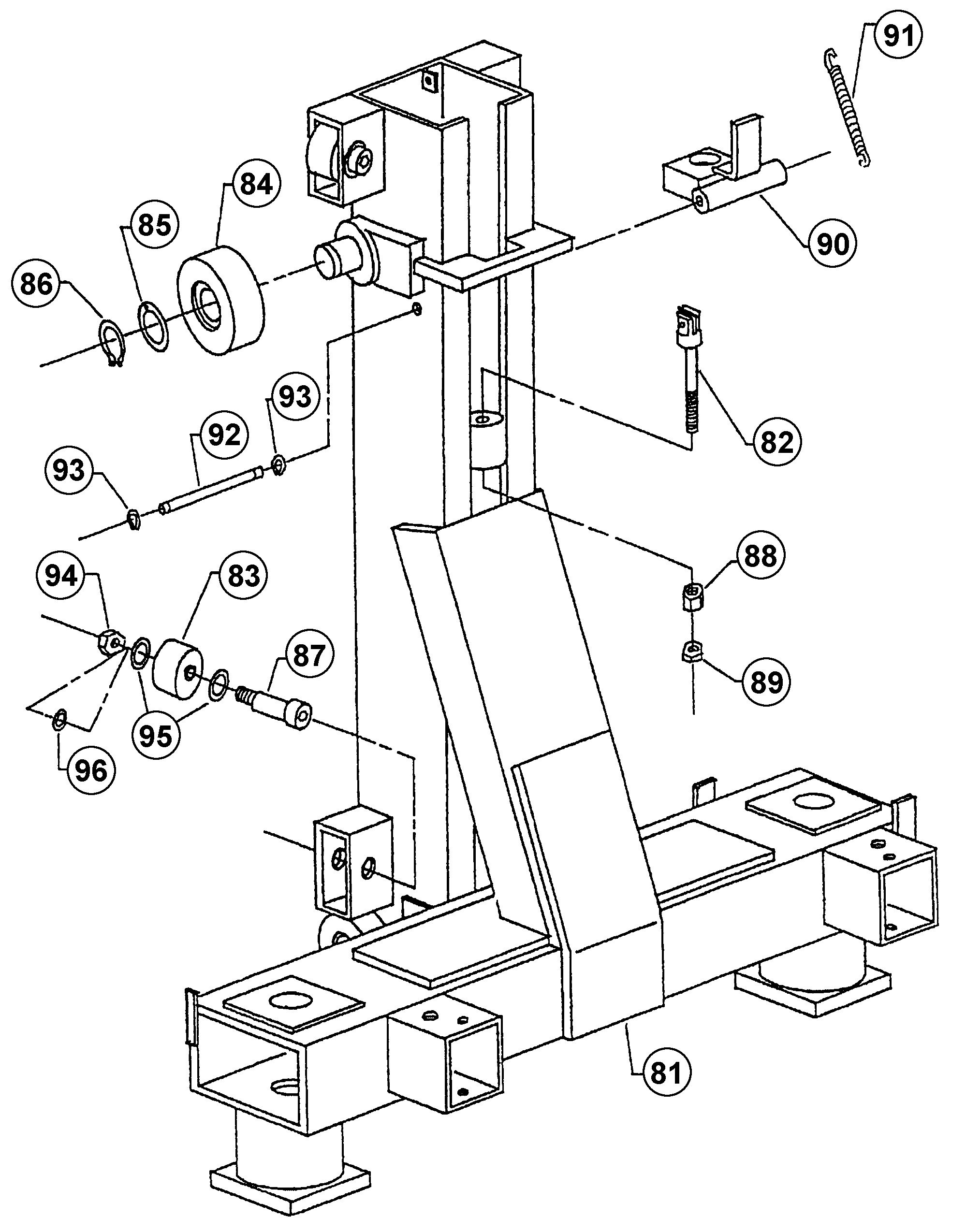
Above Ground / Surface Mount 2-Post Lifts – Benwil – BW-7L
Parts for Benwil BW-7L Carriage Assembly Driven Side
Add toQuote
Add toOrder
Item
SVI Part #
OEM #
QTY
Description
81
BH-7224-155
300305
1
Carriage Weld-Driven Side
87
Request Details
4
5/8" x 1-1/2" Socket Shoulder Screw
89
Request Details
1
9/16"-18 Jam Nut
92
BH-7224-156
300343
1
Pin-Loose Chain
95
Request Details
8
5/8" x 1-1/4" Machine Bushing
96
Request Details
4
1/2" Flat Washer
All names, numbers, symbols and descriptions are used for reference purposes only. It is not implied that any part listed is the product of these manufacturers. SVI does not represent and is not associated in any way with any other companies.
