Above Ground / Surface Mount 2-Post Lifts – Ben Pearson – TPA
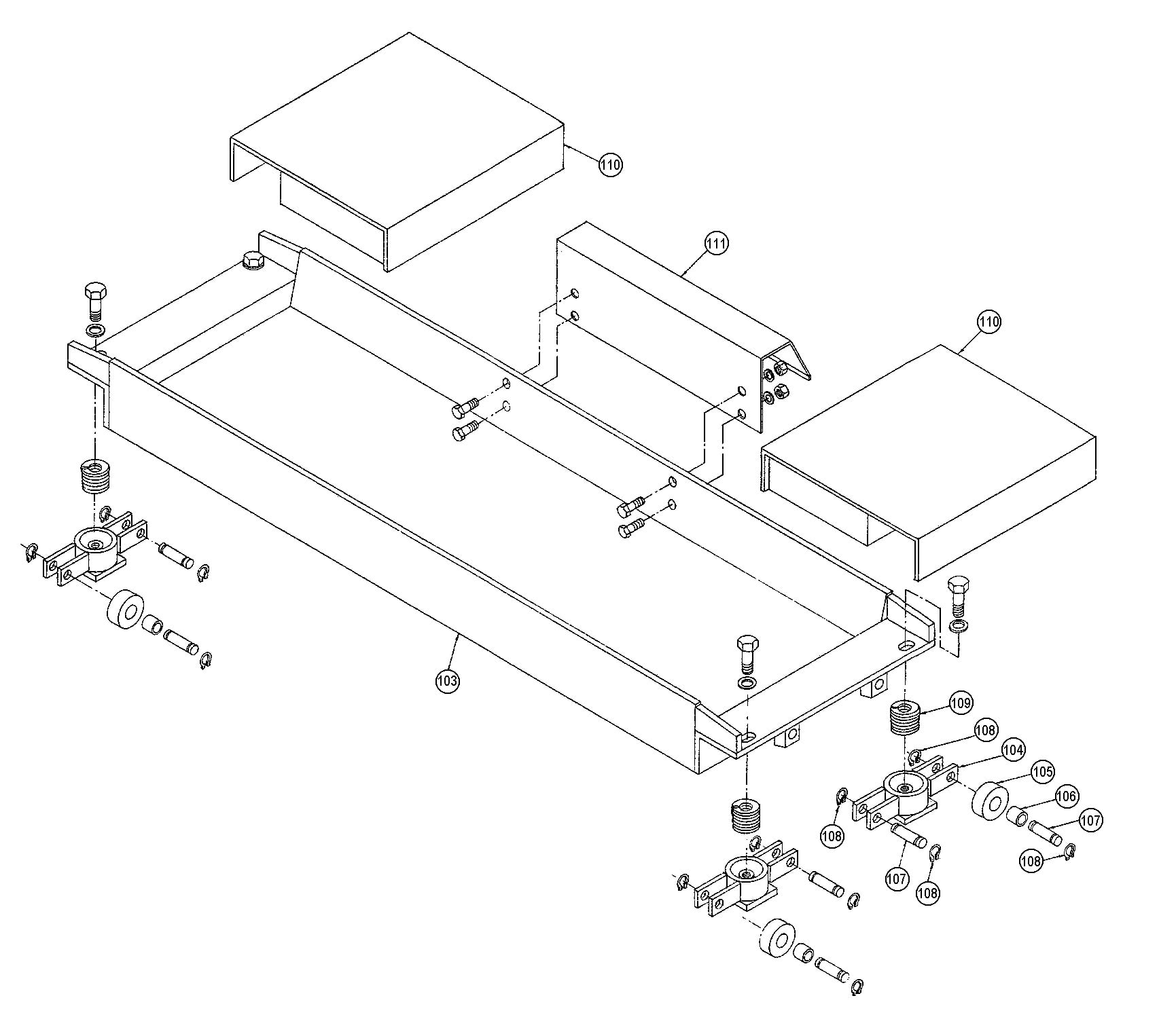
Parts for Ben Pearson TPA Jacking Channel Kit
Add toQuote
Add toOrder
Item
SVI Part #
OEM #
QTY
Description
--
Request Details
One Channel Consists of:
All names, numbers, symbols and descriptions are used for reference purposes only. It is not implied that any part listed is the product of these manufacturers. SVI does not represent and is not associated in any way with any other companies.
