Above Ground / Surface Mount Scissor Lifts – ALM – Epoch 6000
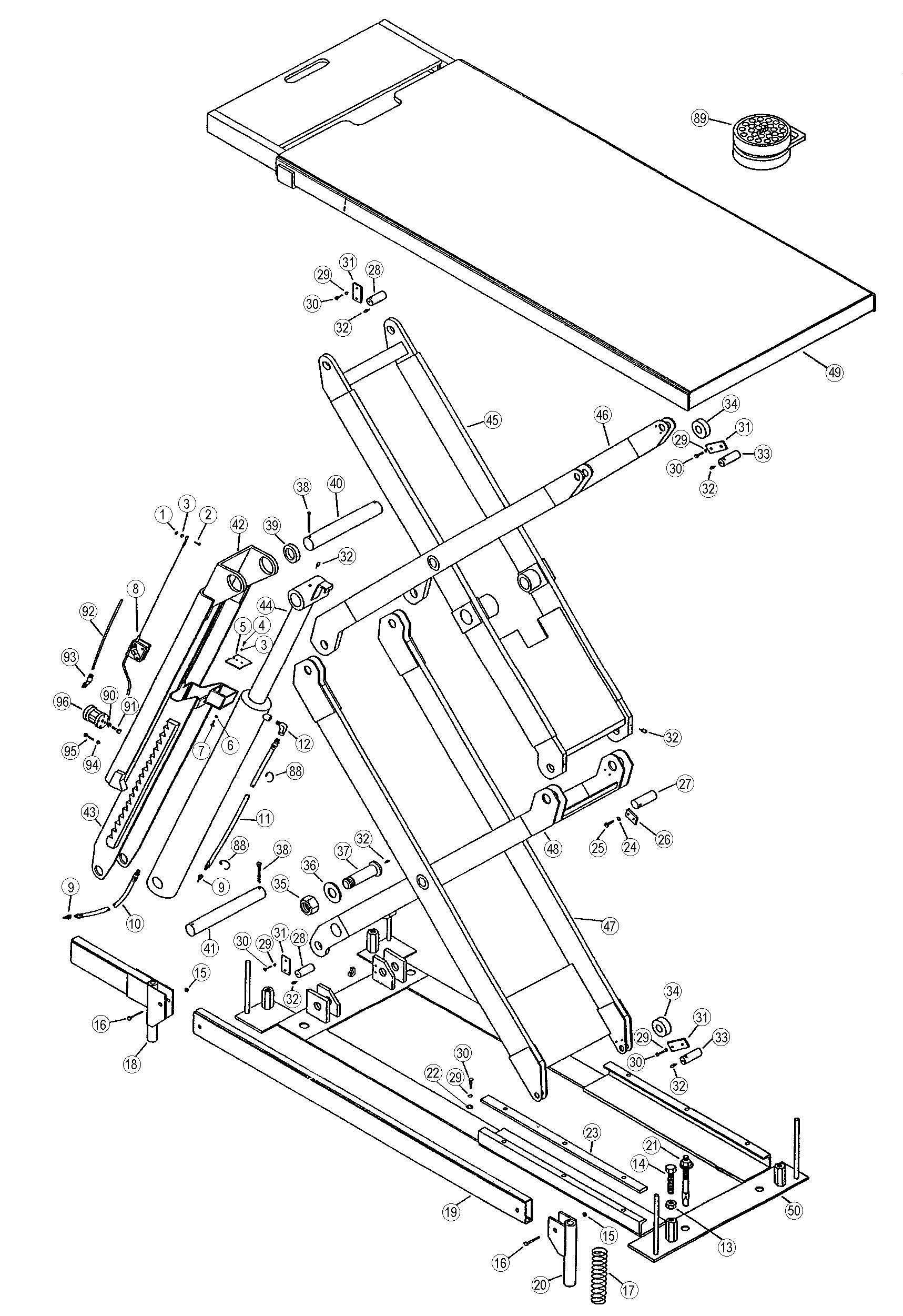
Parts for ALM Epoch 6000
Add toQuote
Add toOrder
Item
SVI Part #
OEM #
Description
2
F-MS-0004-40-0500
A00150-04
Machine Screw 4-40 x 1/2
3
F-LW-0004
A00158-04
Split Lockwasher
4
F-MS-0004-40-0500
A00150-02
Machine Screw 4-40 x 1/2
21
BH-7075-03L
X00015
3/4 x 5-1/2 Wedge Anchor
92
Available—Call
A00084-19
Pneumatic Tubing 5/32 x 144
95
F-HC-0006-32-0750
A00152-06
Cap Screw 6-32 x 3/4
All names, numbers, symbols and descriptions are used for reference purposes only. It is not implied that any part listed is the product of these manufacturers. SVI does not represent and is not associated in any way with any other companies.
