DC Powered Pumps – Tokheim – 474
474 Direct Drive Motor-Pump Assembly
Add toQuote
Add toOrder
Item
SVI Part #
OEM #
Description
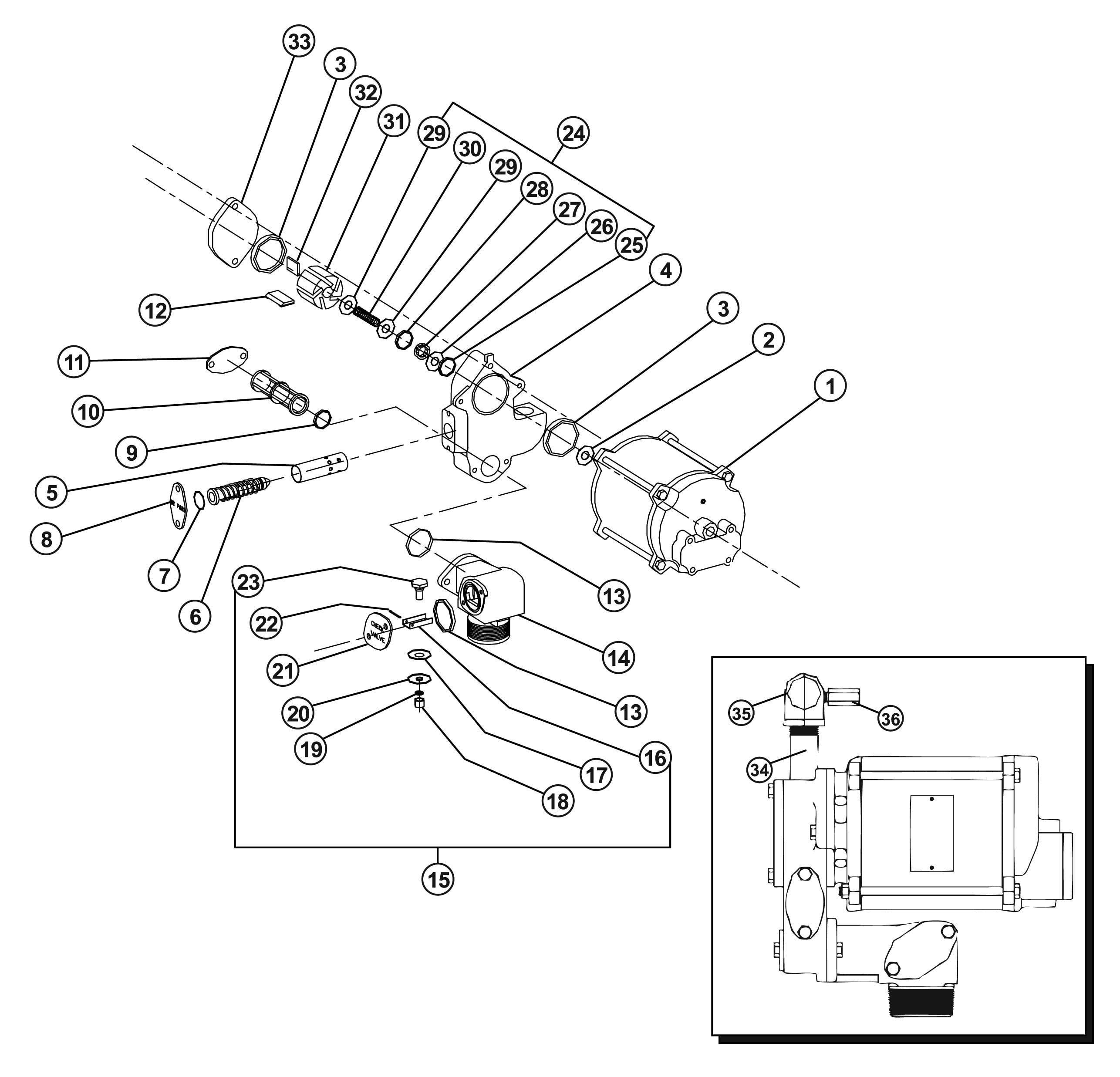
16
Request Details
029155
Valve Guide
16
Request Details
029005
Valve Guide, 1800R
17
Request Details
068680
Washer
18
Request Details
038980
Hex Jam Nut
19
Request Details
068650
Washer
20
Request Details
024356
Valve Disc
21
Request Details
022271
Check Valve Cover Assembly
22
Request Details
042370
Cotter Pin
23
Request Details
062620
Valve Stem w/Relief Valve
23
Request Details
062365
Relief Valve
34
Request Details
R11496-106
Pipe, 3/4" x 6-7/8
*Use suffix 20B for beige and 20W for white
All names, numbers, symbols and descriptions are used for reference purposes only. It is not implied that any part listed is the product of these manufacturers. SVI does not represent and is not associated in any way with any other companies.
