Skip to main content

26 Check Valve Retrofit Kit

AC Powered Pumps – Gasboy Consumer Series Pumps – 26

Our respect for the iconic Gasboy pump means SVI will keep this great brand alive.

SVI is the exclusive supplier of Gasboy pump parts for repair and Tokheim Consumer Series Pumps. We stock repair parts for all Consumer Series Gasboy / Tokheim Pumps.

Add to
Quote
Add to
Order
Item
SVI Part #
OEM #
Description
 
--
032083
Check Valve Retrofit Kit (Models 25/425, 26/426, 27/427, 28/428 & 250/4250)

--
032084
Check Valve Retrofit Kit (Models 250AR/4250AR)

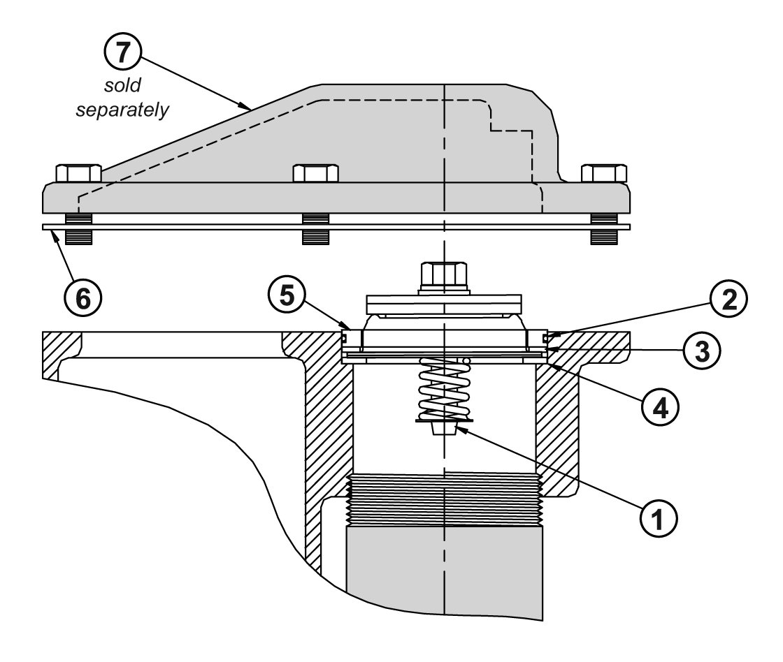
1
035319
Check Valve Assembly

2
049019
O-Ring

3
027301
Gasket

4
047202
Check Valve Support Plate

5
047201
Upper Check

6
027360
Gasket

7*
003489
Strainer Cover, 25, 26, 27, 28 & 250

7*
Request Details
003491
Strainer Cover, 250AR only

*Strainer Cover is sold separately and not part of Retrofit Kits

All names, numbers, symbols and descriptions are used for reference purposes only. It is not implied that any part listed is the product of these manufacturers. SVI does not represent and is not associated in any way with any other companies.
Related documents

All names, numbers, symbols and descriptions are used for reference purposes only. It is not implied that any part or product listed is the actual product of these manufacturers. SVI does not represent and is not associated in any way with any other companies.

Have any questions?

We’ll get right back to you — Contact us now.
Contact us

Quick Reference

Easy Access to Products, Resources, and More