AC Powered Pumps – Gasboy Consumer Series Pumps – 1820R
1820R
Add toQuote
Add toOrder
Item
SVI Part #
OEM #
Description
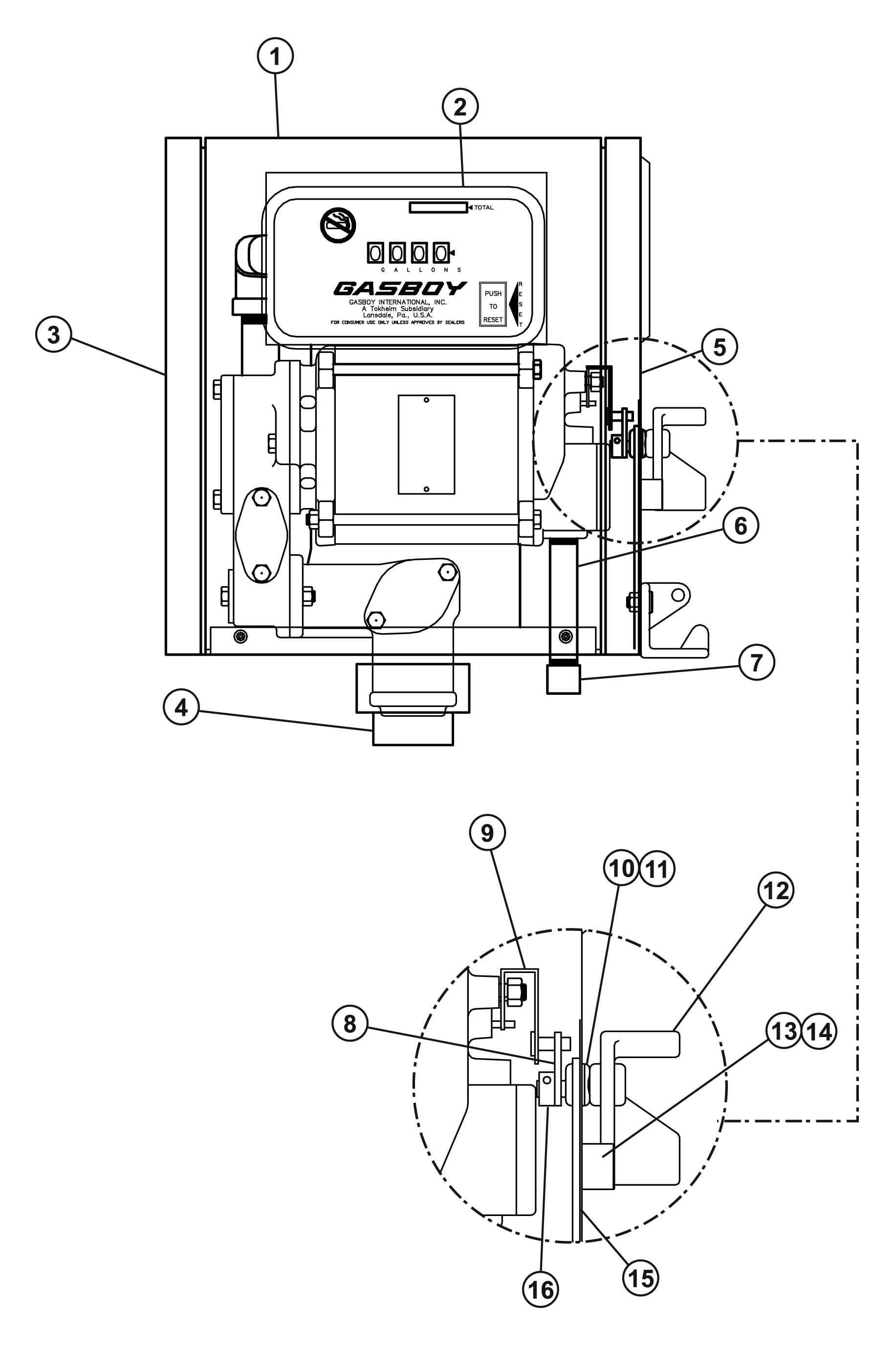
1
Request Details
022194
Cover-1820R, CRS
1
Request Details
022971
Cover-1820R, SS
2
Request Details
012267
Bezel
3
Request Details
022193
Panel Assembly-Left, CRS
3
Request Details
M04559A001
Panel Assembly-Left, CRS
3
Request Details
022970
Panel Assembly-Left, SS
3
Request Details
M04559A002
Panel Assembly-Left, SS
3
Request Details
022988
Panel Assembly-Left, CRS, Pulser
3
Request Details
M04559A003
Panel Assembly-Left, CRS, Pulser
3
Request Details
022979
Panel Assembly-Left, SS, Pulser
3
Request Details
M04559A004
Panel Assembly-Left, SS, Pulser
5
Request Details
041384
Panel Assembly-Right, CRS
5
Request Details
M04560A001
Panel Assembly-Right, CRS
5
Request Details
041383
Panel Assembly-Right, SS
5
Request Details
M04560A002
Panel Assembly-Right, SS
6
Request Details
021374
Conduit 1/2 x 5
7
Request Details
017931
Thread Protector 1/2" MNPT
8
Request Details
017578
Cam Assembly
8
Request Details
M04446A002
Cam Assembly
9
Request Details
033748
Switch Actuator Assembly
10
Request Details
068080
Washer - 5/16 Plated
11
Request Details
068281
Washer - Spring 7/16
12
Request Details
051072
Switch Arm Assembly
13
Request Details
063209
Eccentric Stop
14
Request Details
052314
Flathead Screw
15
Request Details
026575
Frame Assembly
15
Request Details
M04610A001
Frame Assembly
16
Request Details
053516
Set Screw, Soc. Hd., 10-32 x 1/4 HF
17
Request Details
040754
Panel-Back, CRS (not shown)
17
Request Details
M04558B001
Panel-Back, CRS (not shown)
17
Request Details
040811
Panel-Back, SS (not shown)
17
Request Details
M04558B002
Panel-Back, SS (not shown)
All names, numbers, symbols and descriptions are used for reference purposes only. It is not implied that any part listed is the product of these manufacturers. SVI does not represent and is not associated in any way with any other companies.
