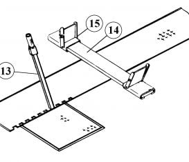
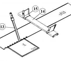
Front Adapter Assembly
SVI owns the assets of the Globe Lift Company in 2002. Globe lifts still roll on and SVI’s production cells never stop churning out the Globe products still found all over the World.
All names, numbers, symbols and descriptions are used for reference purposes only. It is not implied that any part listed is the product of these manufacturers. SVI does not represent and is not associated in any way with any other companies.













