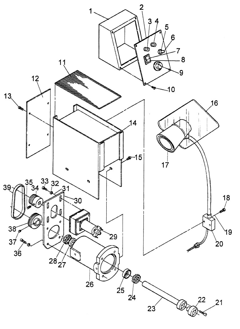
Combination Brake Lathe – RELS – 2000
Repair Parts for RELS 2000 Rotorfeed Assembly
Add toQuote
Add toOrder
Item
SVI Part #
OEM #
QTY
Description
1
RM-40082A
40082A
1
Electrical Box
18
RM-40075A
40075A
4
Screw
19
RM-40075B
40075B
4
Nut
26
RM-40074A
40074A
1
Housing
31
RM-40199
40199
4
Fender Washer
32
RM-40131
40131
4
Washer
33
RM-40158
40158
4
Screw
36
RM-40202
40202
4
Screw
37
RM-40074G
40074G
2
Set Screw
All names, numbers, symbols and descriptions are used for reference purposes only. It is not implied that any part listed is the product of these manufacturers. SVI does not represent and is not associated in any way with any other companies.
