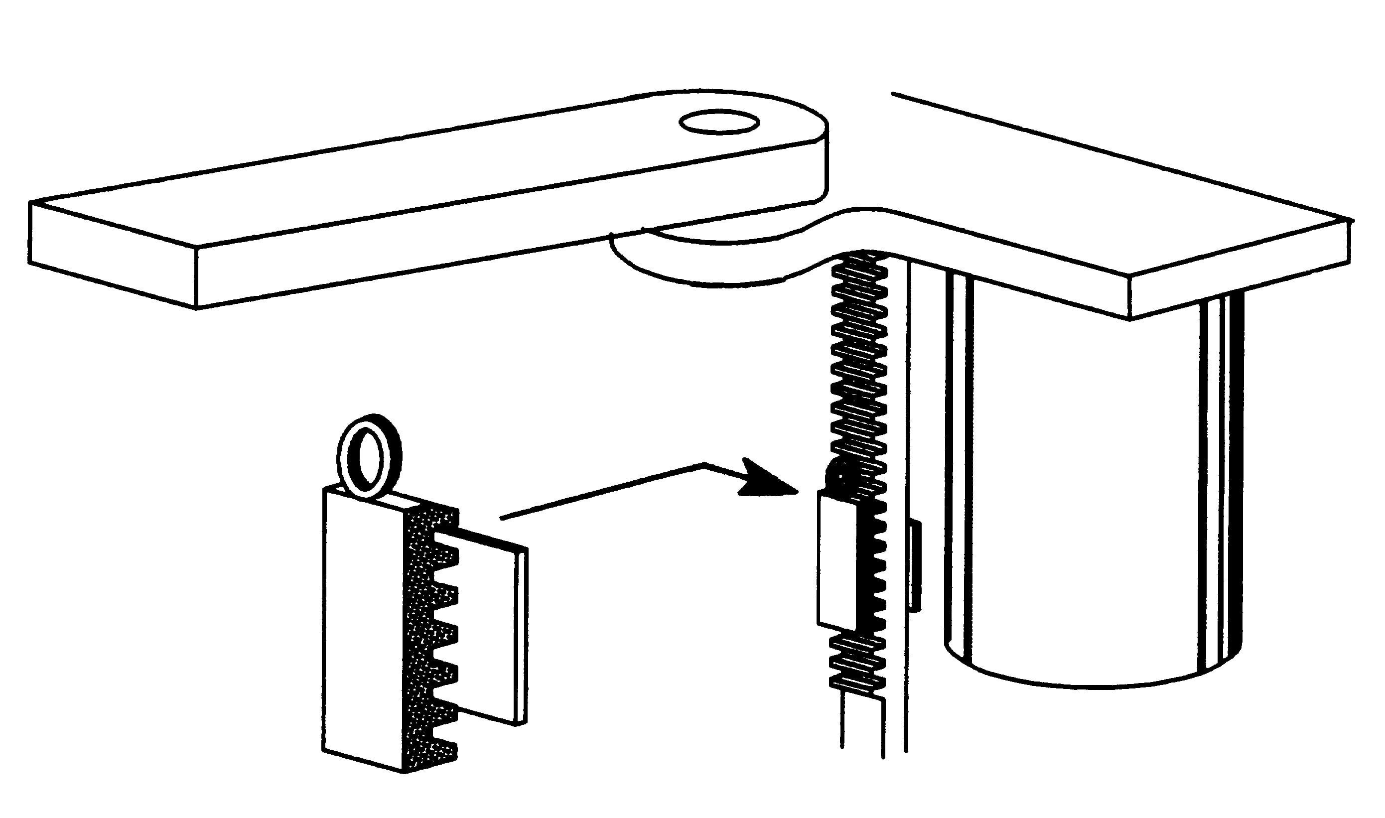
In Ground Side by Side Lifts – Weaver – EC-891
Parts for Weaver EC-891 Manual Style Rack Bar Locks
Add toQuote
Add toOrder
Item
SVI Part #
Description
All names, numbers, symbols and descriptions are used for reference purposes only. It is not implied that any part listed is the product of these manufacturers. SVI does not represent and is not associated in any way with any other companies.
