Above Ground / Surface Mount 4-Post Lifts – Rotary Lift – SM90
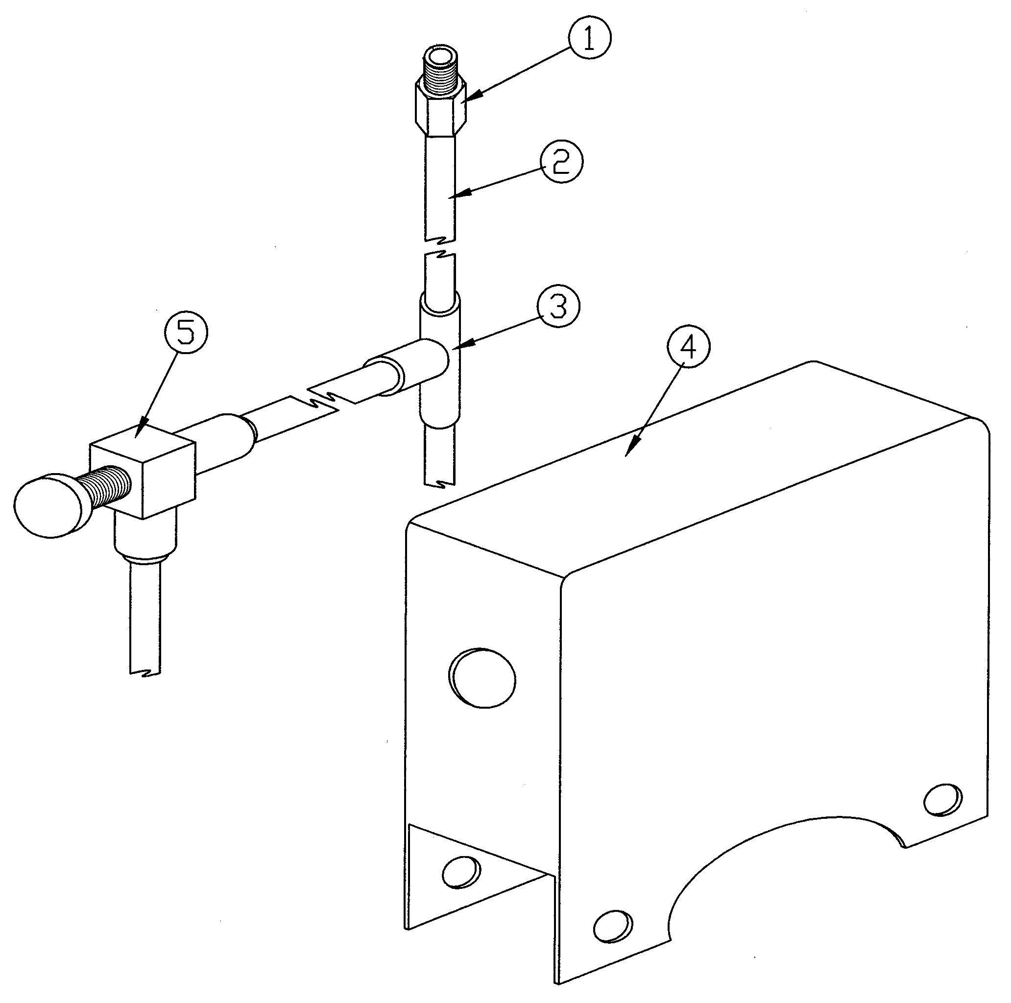
Parts for Rotary SM90 Air Valve Detail
Add toQuote
Add toOrder
Item
SVI Part #
OEM #
Description
All names, numbers, symbols and descriptions are used for reference purposes only. It is not implied that any part listed is the product of these manufacturers. SVI does not represent and is not associated in any way with any other companies.
