In Ground Side by Side Lifts – Rotary Lift – SL90204
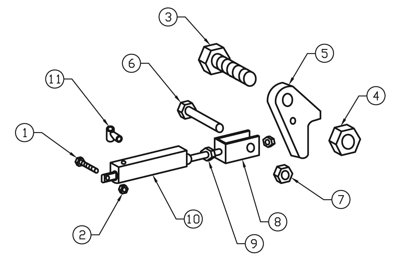
Parts for Rotary SL90204 Lock Detail
Add toQuote
Add toOrder
Item
SVI Part #
OEM #
QTY
Description
All names, numbers, symbols and descriptions are used for reference purposes only. It is not implied that any part listed is the product of these manufacturers. SVI does not represent and is not associated in any way with any other companies.
