Above Ground / Surface Mount 4-Post Lifts – Rotary Lift – FLS12
Parts for Rotary FLS12 Air Valve Detail
Add toQuote
Add toOrder
Item
SVI Part #
OEM #
QTY
Description
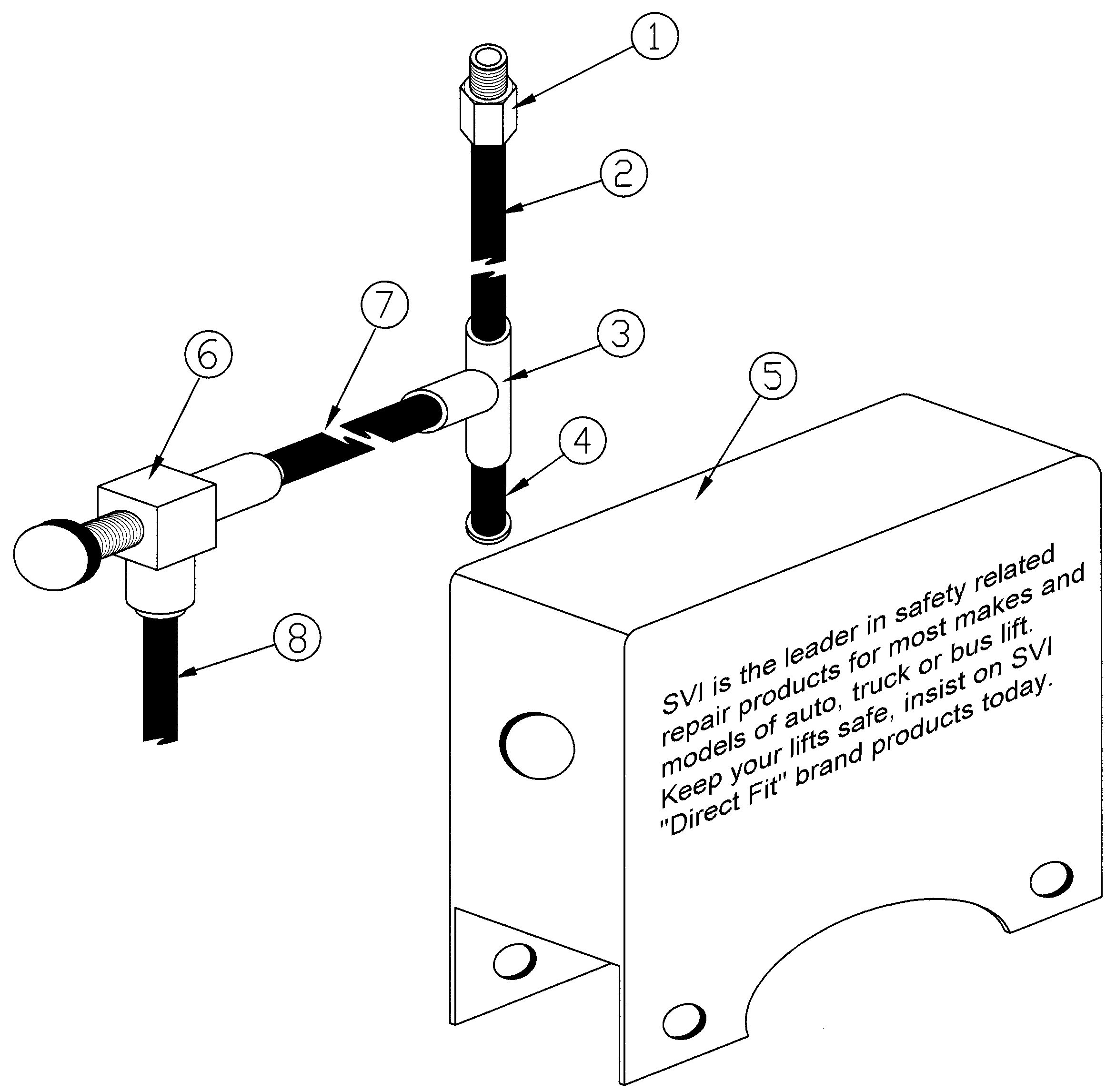
7
Request Details
FA3134-11
1/4" Tubing
8
Request Details
FA-3134-9
1/4" Tubing
All names, numbers, symbols and descriptions are used for reference purposes only. It is not implied that any part listed is the product of these manufacturers. SVI does not represent and is not associated in any way with any other companies.
