In Ground Side by Side Lifts – Rotary Lift – DTRP28H
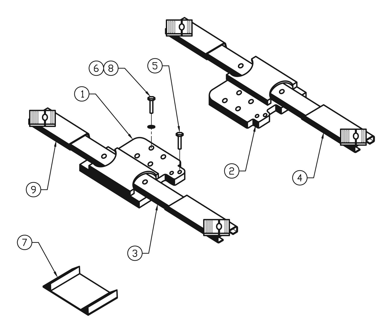
Parts for Rotary DTRP28H Superstructure
Add toQuote
Add toOrder
Item
SVI Part #
OEM #
QTY
Description
* Custom order by request. Sample may be needed.
All names, numbers, symbols and descriptions are used for reference purposes only. It is not implied that any part listed is the product of these manufacturers. SVI does not represent and is not associated in any way with any other companies.
