Skip to main content

Parts for Rotary AR123 Air Valve Detail

Above Ground / Surface Mount 4-Post Lifts – Rotary Lift – AR123

Repair parts for Rotary Lifts Model AR123 are available from SVI.

SVI is the your best choice for repair parts for Rotary Lifts. Whether you need cables, sheaves, chain, chain rollers, air cylinders, hydraulic cylinders, seal kits, lock release air valve switch, power units, or another part for your 4-post Rotary lift, SVI has what you need. We offer excellent pricing, top-notch customer service and in-stock items usually ship out same day.

Looking for a specific model breakdown or part? Contact SVI today!

Also see these additional breakdowns for Rotary AR123:

Add to
Quote
Add to
Order
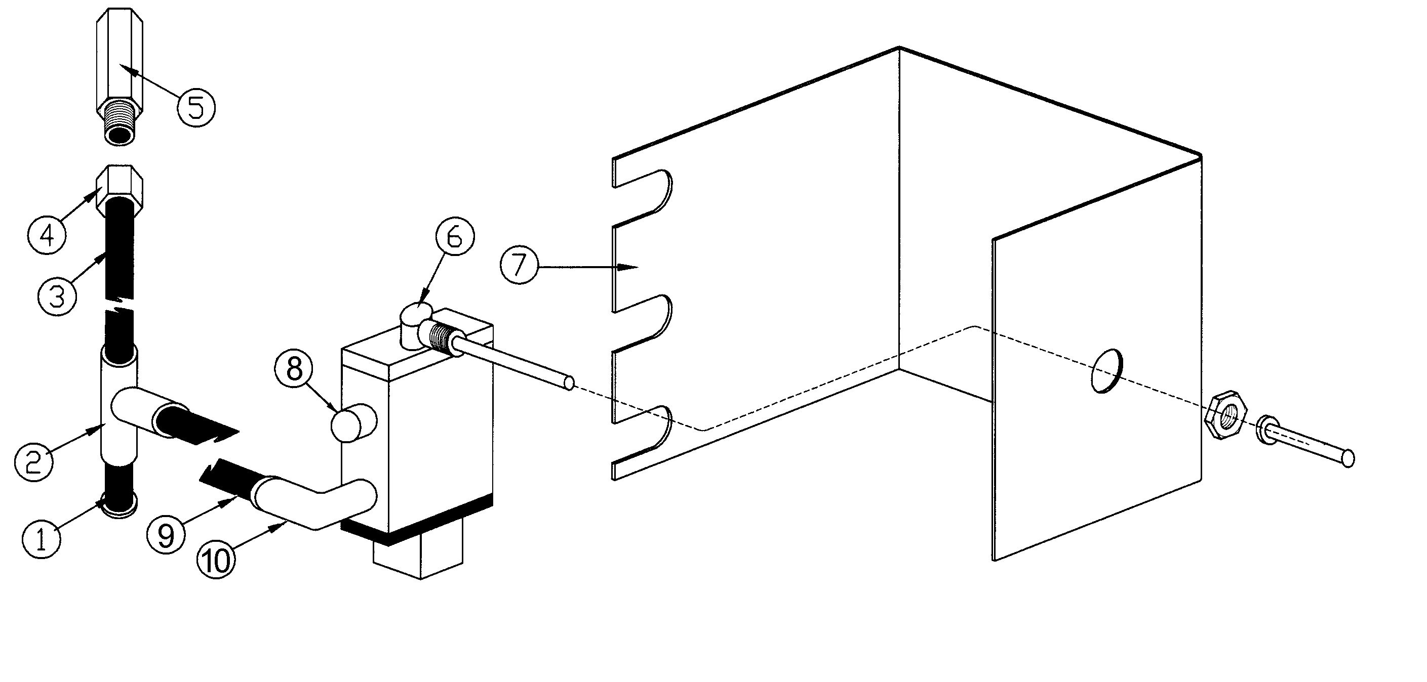
Item
SVI Part #
OEM #
Description
 
1
FA2230-16
3/8" Plug

2
FA2242-1
Union Tee

3
FA2230-15
3/8" Tubing (40' roll)

4
FA3134-13
Female Connector

5
FA3134-12
In-Line Filter

6
T140073
Air Valve

7
FA3217
Air Valve Bracket

8
T140075
Brass Filter

9
FA2230-2
1/4" Air Line Tubing (50' roll)

10
FC5341-90
Elbow

--
FC5225-46
1/4" Tee Fitting

--
FC5225-98
Union

All names, numbers, symbols and descriptions are used for reference purposes only. It is not implied that any part listed is the product of these manufacturers. SVI does not represent and is not associated in any way with any other companies.
Related documents

All names, numbers, symbols and descriptions are used for reference purposes only. It is not implied that any part or product listed is the actual product of these manufacturers. SVI does not represent and is not associated in any way with any other companies.

Have any questions?

We’ll get right back to you — Contact us now.
Contact us

Quick Reference

Easy Access to Products, Resources, and More