Above Ground / Surface Mount 2-Post Lifts – Rotary Lift – A8i
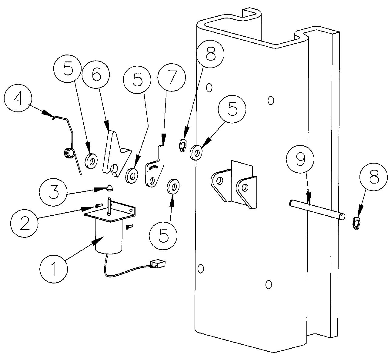
Parts for Rotary A8i Lock Detail
Add toQuote
Add toOrder
Item
SVI Part #
OEM #
QTY
Description
All names, numbers, symbols and descriptions are used for reference purposes only. It is not implied that any part listed is the product of these manufacturers. SVI does not represent and is not associated in any way with any other companies.
